
Here, we provide a detailed summary of Chapter 7 Motion NCERT Class 9. This comprehensive summary includes answers to the questions presented within the chapter and the end-of-chapter exercises.
Motion NCERT Class 9 Summary
Motion is observed in everyday life, from birds flying to planets orbiting. While some motion is directly perceived, others are inferred indirectly. This chapter will focus on describing motion along a straight line, using equations and graphs, and later discuss circular motion.
7.1 Describing Motion
The position of an object is described using a reference point, or origin. For example, a school’s location can be specified as 2 km north of a railway station.
7.1.1 Motion Along a Straight Line
Distance and displacement are two different physical quantities used to describe motion. Distance is the total path length covered, while displacement is the shortest distance between the initial and final positions. Displacement can be zero even when distance is not, as seen when an object returns to its starting point.

7.1.2 Uniform Motion and Non-Uniform Motion
Uniform motion involves equal distances covered in equal time intervals, while non-uniform motion involves unequal distances covered in equal time intervals.
7.2 Measuring the Rate of Motion
Speed, measured in metres per second (m/s), describes how fast an object moves. Average speed, calculated by dividing total distance by total time, is used for non-uniform motion.
7.2.1 Speed with Direction
Velocity, the speed of an object in a specific direction, can be uniform or variable and is calculated using average speed methods.
=
7.3 Rate of Change of Velocity
During uniform motion, velocity remains constant, while in non-uniform motion, velocity varies with time.
Acceleration measures velocity change per unit time.
.
Accelerated motion is motion with positive acceleration in the direction of velocity and negative acceleration opposite to velocity. The SI unit of acceleration is m s–2.
Accelerated motion is motion with positive acceleration in the direction of velocity and negative acceleration opposite to velocity. The SI unit of acceleration is .
Uniform acceleration occurs when velocity changes by equal amounts in equal time intervals, as seen in freely falling objects. Non-uniform acceleration happens when velocity changes at a non-uniform rate, like a car speeding up unevenly.
7.4 Graphical Representation of Motion
Graphs are useful for presenting information, including cricket run rates and linear equations. Line graphs are particularly useful for describing object motion, showing the relationship between physical quantities like distance and time.
7.4.1 Distance-Time Graphs
Distance-time graphs represent object position changes over time, with time on the x-axis and distance on the y-axis. They are useful for objects with uniform or non-uniform speeds and at rest.
A distance-time graph for uniform speed is a straight line. The speed of an object can be determined from a distance-time graph by calculating the change in distance over the change in time.
7.4.2 Velocity-Time Graphs
A velocity-time graph represents velocity variation with time, with time on the x-axis and velocity on the y-axis. Uniform velocity results in a straight line parallel to the x-axis.




The velocity-time graph for uniformly accelerated motion is a straight line, with the area under the graph representing the distance travelled. For non-uniformly accelerated motion, the graph can have any shape.
7.5 Equations of Motion
Three equations of motion relate velocity, acceleration, and distance travelled by an object with uniform acceleration:
7.6 Uniform Circular Motion
When an object’s velocity changes, it’s accelerating. This change can be due to a change in magnitude or direction, or both.
When an object moves in a circular path with constant velocity, due to a change in its direction of motion, it is considered accelerated motion even though its velocity remains constant. This type of motion is known as uniform circular motion.
In a sports meet, athletes hold a hammer or discus in their hand and rotate their bodies to give it a circular motion. Once released, the object moves in the direction it was moving at the time of release. Many other objects, like the moon and earth, a satellite orbiting the earth, and a cyclist on a circular track, also move in uniform circular motion.
Inside Chapter Question Answers
We have given answers and solutions of Motion NCERT Class 9 questions given inside the chapter after each topic. There are 20 questions in all given inside the chapter.
1. An object has moved through a distance. Can it have zero displacement? If yes, support your answer with an example.
Answer
Yes, an object can have zero displacement even if it has moved through a distance. Displacement is the shortest straight-line distance between the initial and final positions of an object, along with the direction, while distance is the total path covered.
Example:
Consider a person walking around a circular track and returning to the starting point. Suppose the person completes one full round of the track covering, say, 200 metres. The distance travelled is 200 metres, but the displacement is zero because the initial and final positions are the same.
2. A farmer moves along the boundary of a square field of side 10 m in 40 s. What will be the magnitude of displacement of the farmer at the end of 2 minutes 20 seconds from his initial position?
Answer
It is given that
Length of the side of the square field =
Time taken to complete one round of the field =
∴ Perimeter of the square field =
∵ minutes seconds =
Now, number of rounds taken by him in
So, number of rounds taken by him in i.e. 3 complete rounds and one half.
After 3.5 rounds, he is at point C if he started at A.
So, AC is the final displacement that we need to find.
∵ ▲ABC is a right angled triangle.
Using Pythagoras theorem, we get
.
3. Which of the following is true for displacement?
(a) It cannot be zero.
(b) Its magnitude is greater than the distance travelled by the object.
Answer
(a) is not true because displacement can be zero when an object moves away from its initial position and then returns to it.
(b) is not true because displacement is always less than or equal to distance.
4. Distinguish between speed and velocity.
Answer
Speed: Speed is a scalar quantity that describes how fast an object is moving, regardless of its direction. It is the rate at which an object covers distance. For example, "50 km/hr" is a speed.
Velocity: Velocity is a vector quantity that describes both how fast an object is moving and in what direction. It is the rate at which an object changes its position (displacement). For example, "50 km/hr west" is a velocity.
In essence, velocity adds the crucial element of direction to speed.
5. Under what condition(s) is the magnitude of average velocity of an object equal to its average speed?
Answer
The magnitude of the average velocity of an object is equal to its average speed when the object moves in a straight line without changing its direction.
6. What does the odometer of an automobile measure?
Answer
The odometer of an automobile measures the total distance traveled by the vehicle.
7. What does the path of an object look like when it is in uniform motion?
Answer
When an object is in uniform motion, its path looks like a straight line.
8. During an experiment, a signal from a spaceship reached the ground station in five minutes. What was the distance of the spaceship from the ground station? The signal travels at the speed of light, that is , .
Answer
Speed of light =
Time taken by the signal from the spaceship to reach the ground = 5 minutes = 5 × 60 = 300 seconds.
Distance of the spaceship from the ground station
= Speed of light × Total time taken
= () × 300
=
= .
9. When will you say a body is in (i) uniform acceleration? (ii) non-uniform acceleration?
Answer
A body is said to be in uniform acceleration when its velocity changes by equal amounts in equal intervals of time.
A body is said to be in non-uniform acceleration when its velocity changes by unequal amounts in equal intervals of time.
10. A bus decreases its speed from 80 km/h to 60 km/h in 5 s. Find the acceleration of the bus.
Answer
Initial velocity of the bus (u) = km/h = =
Final velocity of the bus (v) = km/h = =
Time taken to decrease the velocity (t) = s.
Now,
Acceleration
= = =
= = = = = .
11. A train starting from a railway station and moving with uniform acceleration attains a speed 40 km/h in 10 minutes. Find its acceleration.
Answer
Since the train is starting from the station, the initial velocity is zero.
i.e.
Final velocity () = = =
Time taken () = = =
Now,
Acceleration
= = =
= = = .
12. What is the nature of the distance-time graphs for uniform and non-uniform motion of an object?
Answer
For uniform motion, the distance-time graph is a straight line. For non-uniform motion, it's a curved line.
13. What can you say about the motion of an object whose distance-time graph is a straight line parallel to the time axis?
Answer
If the distance-time graph of an object is a straight line parallel to the time axis, it means the object is at rest (stationary).
14. What can you say about the motion of an object if its speed-time graph is a straight line parallel to the time axis?
Answer
If the speed-time graph of an object is a straight line parallel to the time axis, it means the object is moving with uniform speed (or constant speed).
15. What is the quantity which is measured by the area occupied below the velocity-time graph?
Answer
The area occupied below the velocity-time graph measures the displacement of the object.
16. A bus starting form rest moves with a uniform acceleration of for 2 minutes.
Find
(a) the speed acquired,
(b) the distance travelled
Answer
Given:
Initial Velocity = m/s
Acceleration () =
Time taken () = minutes =
(a) The speed acquired by the bus is equal to the final velocity of the bus.
We know that acceleration () =
Hence, the speed acquired by the bus in minutes is m/s.
(b) We can find the distance travelled by using one of the laws of motion as follows:
Hence, the distance covered by the bus is
17. A train is travelling at a speed of 90 km/h. Brakes are applied so as to produce a uniform acceleration of . Find how far the train will go before it is brought to rest.
Answer
Given:
Initial velocity () = = = .
Acceleration () =
Since the train is being brought to rest,
final velocity is zero.
i.e.
As initial velocity () , acceleration () and final velocity () are known, we can use to obtain the distance travelled by the train.
= =
Hence, the train will go before it is brought to rest.
18. A trolley, while going down an inclined plane, has an acceleration of . What will be its velocity 3 s after the start?
Answer
Given:
Since the trolley is being started down an inclined plane, initial velocity is zero.
i.e. .
Acceleration () =
Final Velocity () = ?
Time taken () =
Since acceleration, final velocity and time are given, we can use . We get
Hence, the velocity of the trolley three seconds after the start will be .
19. A racing car has a uniform acceleration of . What distance will it cover in 10 s after start?
Answer
Given:
Acceleration of the car =
Time taken =
Since it is starting from rest, initial velocity is zero.
∴ Initial velocity () = .
are known, we can use to find distance travelled by the car.
= =
Hence, the distance covered by the car in 10 seconds after start is .
20. A stone is thrown in a vertically upward direction with a velocity of 5 m/s. If the acceleration of the stone during its motion is in the downward direction, what will be the height attained by the stone and how much time will it take to reach there?
Answer
Given:
Initial velocity of the stone = .
Acceleration of the stone = .
When stone attains its maximum height, its final velocity will be zero.
So, final velocity of the stone = .
Since, are known, we can use to find the time taken to reach maximum height.
Now,
Hence time taken to reach maximum height is 0.5 s and distance covered is 1.25 m.
Exercises Question Answers
We have given answers and solutions of Motion NCERT Class 9 questions given at the end of the chapter. There are 10 questions including numerical problems.
1. An athlete completes one round of a circular track of diameter 200 m in 40 s. What will be the distance covered and the displacement at the end of 2 minutes 20 s?
Answer
∵ Diameter of the circular track = .
∴ Radius of the circular track = .
Number of rounds taken by the athlete in .
Number of rounds taken by the athlete in i.e. in = =
rounds means three complete rounds and a half round.
It means the athlete is at point B after three and a half rounds if he starts at point A.
So, total distance covered by the athlete = distance covered in one round × no. of rounds = circumference of the circle × = × = = .
Since the athlete will be at B after 3.5 rounds, displacement is equal to the length of the diameter AB.
Displacement = AB = .
2. Joseph jogs from one end A to the other end B of a straight 300 m road in 2 minutes 30 seconds and then turns around and jogs 100 m back to point C in another 1 minute. What are Joseph's average speeds and velocities in jogging (a) from A to B and (b) from A to C?
Answer
First, let's establish the key values from the problem:
Path A to B:
Distance = 300 m
Time = 2 min 30 s = (2 × 60) + 30 = 150 s
Path B to C:
Distance = 100 m
Time = 1 min = 60 s
(a) From end A to end B
In this part, Joseph travels in a straight line without changing direction.
Total Distance: 300 m
Displacement: 300 m (since it's a straight line from start to end)
Total Time: 150 s
Average Speed = Total Distance / Total Time = 300 m / 150 s = 2 m/s
Average Velocity = Displacement / Total Time = 300 m / 150 s = 2 m/s
For the journey from A to B, both the average speed and the average velocity are 2 m/s.
(b) From end A to end C
For this part, we must consider the entire journey from the start (A) to the final position (C).
Total Distance: This is the total path covered.
Total Distance = (Distance from A to B) + (Distance from B to C) = 300 m + 100 m = 400 m
Displacement: This is the shortest distance from the starting point (A) to the final point (C).
Displacement = (Distance from A to B) - (Distance from B to C) = 300 m - 100 m = 200 m
Total Time: This is the sum of the time for both parts of the jog.
Total Time = (Time from A to B) + (Time from B to C) = 150 s + 60 s = 210 s
Now we can calculate the average speed and velocity:
Average Speed = Total Distance / Total Time = 400 m / 210 s ≈ 1.90 m/s
Average Velocity = Displacement / Total Time = 200 m / 210 s ≈ 0.95 m/s
For the journey from A to C, the average speed is approximately 1.90 m/s, and the average velocity is approximately 0.95 m/s.
3. Abdul, while driving to school, computes the average speed for his trip to be 20 km/h. On his return trip along the same route, there is less traffic and the average speed is 30 km/h. What is the average speed for Abdul's trip?
Answer

Given :
Average speed of Abdul from home to school =
Average speed for his return trip =
Let the distance between the school and home be '' km.
To find the average speed for Abdul's trip, we need to find two quantities (i) Total distance and (ii) Total time taken
∵ Total distance travelled by Abdul in his entire journey = Distance from home to school + distance from school to home =
Time taken to cover distance from his home to school = =
Similarly, time taken to cover distance from school to his home = =
Total time taken by him in his entire journey = = =
Now,
Average Speed for Abdul's trip = = = = .
4. A motorboat starting from rest on a lake accelerates in a straight line at a constant rate of for 8.0 seconds. How far does the boat travel during this time?
Answer
Given:
Since the motorboat is starting from rest, its initial velocity is zero, i.e. .
Acceleration of the motorboat () =
Time taken () =
Distance travelled by boat
.
5. A driver of a car travelling at 52 km/h applies the brakes.
(a) Shade the area on the graph that represents the distance travelled by the car during the period.
(b) Which part of the graph represents uniform motion of the car?
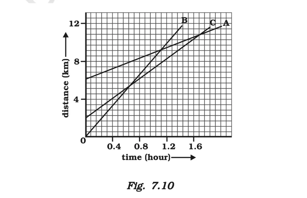
6. Fig 7.10 shows the distance-time graph of three objects A, B and C. Study the graph and answer the following questions:

(a) Which of the three is travelling the fastest?
(b) Are all three ever at the same point on the road?
(c) How far has C travelled when B passes A?
(d) How far has B travelled by the time it passes C?
Answer
(a) The line on the graph with the higher slope has higher speed. B is travelling the fastest as it has highest slop among A, B and C
(b) Since lines A, B, and C are not coincident, they are never at the same point on the road.
(c) C has travelled as shown in the figure given below.

(d) B has travelled by the time it passes C as shown in the figure below.

7. A ball is gently dropped from a height of 20 m. If its velocity increases uniformly at the rate of , with what velocity will it strike the ground? After what time will it strike the ground?
Answer
Given:
Height of the ball = Distance travelled by the ball after dropping =
Acceleration () =
Since the ball is dropped from start, its initial velocity () = .
For finding final velocity of the ball, we will use the following equation of motion.
.
Hence, the velocity with which the ball strikes on the ground is .
We will take acceleration positive as it is acting in the direction of motion.
So,
.
Hence, the time taken by the ball to reach the ground = .
8. The speed-time graph for a car is shown in Fig. 7.11.

(a) Find how far does the car travel in the first 4 seconds. Shade the area on the graph that represents the distance travelled by the car during period.
(b) Which part of the graph represents uniform motion of the car?
Answer
(a) From the graph, we can deduce the following:
Initial velocity () =
Final velocity at the end of 4 seconds = (approx.)
Time taken () =
Now,
Distance travelled by the car =
.
Hence, the distance travelled by the car is .
(b) The part of the graph which is straight and parallel to the x-axis represents uniform motion of the car as shown in the figure below.
9. State which of the following situations are possible and give an example for each of these:
(a) an object with a constant acceleration but with zero velocity.
(b) an object moving with an acceleration but with uniform speed.
(c) an object moving in a certain direction with an acceleration in the perpendicular direction.
Answer
(a) Possible.
Example: A ball thrown vertically upward at its highest point.
At the peak of its motion, the velocity is zero (momentarily).
However, the acceleration due to gravity (≈ 9.8 m/s² downward) is still constant.
So, the object has zero velocity but non-zero constant acceleration.
(b) Possible.
It is not possible in linear motion but possible in circular motion.
Example: A car moving at constant speed in a circular track. Its speed is constant, but its velocity is changing, because of which its acceleration is positive.
(c) Possible.
Example: A planet orbiting the Sun in a circular orbit. Here, the direction of the velocity is tangent to the direction of motion, but acceleration is acting perpendicular to the velocity towards the Sun.
10. An artificial satellite is moving in a circular orbit of radius 42250 km. Calculate its speed if it takes 24 hours to revolve around the earth.
Answer
Given:
Radius of the circular orbit =
Distance travelled in one revolution (circumference of the orbit):
Time taken =
To calculate the speed of the satellite moving in a circular orbit, we can use the formula:
= .
Hence, the speed of the artificial satellite in a revolution around the earth = .


